Anzahl Durchsuchen:0 Autor:Site Editor veröffentlichen Zeit: 2026-02-28 Herkunft:Powered
Die Funktion der Papiermaschinen-Zylinderform
Die Rundsiebform ist die Hauptkomponente, auf der die Papierbahn in einer Rundsiebmaschine geformt wird. Er muss das Wasser gleichmäßig filtern und während der Rotation keine übermäßige Bewegung im Netztank erzeugen. Die Rundsiebform sollte eine ausreichende Steifigkeit und genaue geometrische Abmessungen aufweisen und horizontal installiert werden.
Zylinderformen werden entsprechend ihrer Struktur in normale, Chip-, Saug- und Vakuum-Zylinderformen unterteilt. Geteilt nach Material: gewöhnliche Zylinderform, ganz aus Kupfer, Edelstahl.
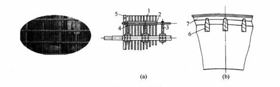
Das folgende Bild ist ein schematisches Diagramm einer typischen Rundsiebstruktur.

Auf der Gusseisenwelle ist eine Stützrippe aus Messing, sogenannte Speichen, mit einem Speichenabstand von 100–150 mm installiert. Die Speichen stützen die zentrale Radfelge und sind von Rillen umgeben. Die Nuten sind mit horizontalen Stäben in der gleichen Länge wie die Zylinderform ausgestattet. Der Durchmesser der horizontalen Stange beträgt etwa 1 cm, mit einem Abstand von Mitte zu Mitte parallel zur Mittelachse von etwa 4 cm. Die horizontale Stange besteht aus Stahl oder Messing und ihr Querschnitt kann kreisförmig oder rechteckig sein. Die beiden äußersten Räder sind mit hervorstehenden Ringen gegossen, um eine Abdichtung mit den entsprechenden Teilen der Netznut zu bilden und so die Innen- und Außenseite der Zylinderform zu isolieren. Fräsen Sie gezackte kleine Rillen auf der horizontalen Stange entlang einer Spirallinie und wickeln Sie einen durchgehenden Metalldraht mit einem Durchmesser von etwa 3 mm spiralförmig um die Zylinderform, um einen zylinderförmigen Maschenzylinderrahmen zu bilden. Der Abstand zwischen benachbarten Metalldrähten beträgt etwa 1 cm. Zum Schluss bedecken Sie den Kupferdraht mit einer dickeren Schicht Messing- oder Edelstahlgeflecht und bedecken ihn dann mit einem dünneren Geflecht, das für die Papierherstellung verwendet wird. Sowohl das Innengeflecht als auch das Oberflächengeflecht sind Endgeflechte, die mit Spezialwerkzeugen am Rundsiebrahmen festgezogen und durch Silberschweißen oder Elektroschweißen verbunden werden. Die endgültige Baugruppe muss sehr rund und konzentrisch zur Mittelachse sein und über eine ausreichende Steifigkeit verfügen, um dem Druck der Rollen ohne Verformung standzuhalten. Der Durchmesserbereich einer Standard-Rundzylinderform beträgt etwa 1–1,5 m, und die häufig verwendete Spezifikation liegt bei 1,2 m.
Die Rundsieblagervorrichtung befindet sich außerhalb der Maschennut. Die beiden Enden der Zylinderform werden mit dem Seitenkasten des Netzschlitzes verbunden. Nachdem der Zellstoff an das Netz angeschlossen ist, gelangt das durch ein Kupfernetz in die Zylinderform gefilterte Siebwasser von beiden Enden der Zylinderform in den Seitenkasten und wird dann von einer Siebwasserpumpe zur Wiederverwertung abgepumpt.

Die innere Maschenweite der Zylinderform beträgt im Allgemeinen 8–16 Maschen und dient hauptsächlich dazu, den Druck der Walzen zu verteilen und die Oberflächenmasche flach zu halten. Das Netz ist relativ dicht und wird zum Filtern von Fasern verwendet, um eine Papierbahn zu bilden, typischerweise im Bereich von 40–100 Maschen. Die Auswahl der Maschenweite hängt hauptsächlich von der Art des produzierten Papiers ab. Die am häufigsten verwendete Maschenweite für die Herstellung von allgemeinem Kulturpapier ist 65 Mesh.
Die folgende Abbildung zeigt eine Strukturform der Chip-Zylinderform. Bei der Chip-Rundsiebform handelt es sich um den Austausch der äußeren Scheibe einer regulären Rundsiebform von einem Kupferdraht mit einem Durchmesser von 3 mm zu einer Edelstahlplatte mit rechteckigem Querschnitt. Seine Hauptmerkmale sind: Vergrößerung der Filterfläche und -geschwindigkeit sowie Verbesserung der Produktion; Verbessern Sie die Papierqualität, einschließlich Gleichmäßigkeit, Gewicht und Seitenverhältnis, und reduzieren Sie den Verbrauch und die Wartungskosten von Kupfergewebe, Filzen und anderen Materialien. Stärken Sie die allgemeine Integrität und Korrosionsschutzleistung der Ausrüstung durch hohe Festigkeit, gute Steifigkeit und Haltbarkeit. Es wurden drei Arten von Zylinderformen entwickelt und hergestellt: Durchlaufchips, Wickelchips und Schrägchips.
![]() | ![]() |